- IEC 60335-1 图7试验指甲带30N推力BND-ZJ
详细信息
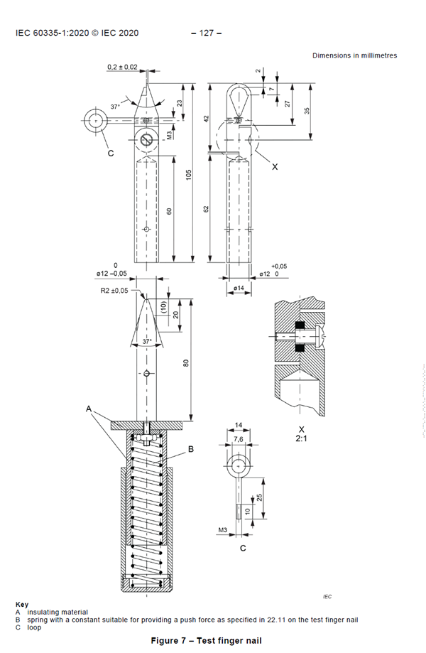
品牌:BND 型号:BND-ZJ 加工定制:是 类型:精密 规格:1个 适用范围:家用电器 指甲形测试探针用于按照 IEC 60335 和 UL 标准进行测试。它用于检查卡扣式部件的牢固性。手柄内的弹簧加载力可校准至使用该仪器所需的力。该探针由不锈钢制成,尖端经过特殊硬化处理。手柄上有一个螺纹孔,可用于连接力传感器。
技术规格
力传感器:可与 10N / 20N / 30N / 40N / 50N 配合使用。
应用:与推拉力计配合使用。
应用范围
适用于用于电击、浸水或接触运动部件等不可拆卸部件的测试,以检验其能否承受正常使用中产生的机械应力,从而判断这些部件是否符合所需的防护等级。
测试样品
适用于不可拆卸的组件,例如用于电击、水浸或接触运动部件的组件,以检验其是否能够承受正常使用中产生的机械应力。
关于我们
公司生产激光光束分析仪、IP防触电安规防护等级试验指、试验机、灯头量规通止规、插头插座量规、插座保护门、试验指针销、球压测试仪、弹簧冲击器、冷冻负载试验包、土壤水份传感器等等,还代理以色列OPHIR、德国WAZAU、德国GTE、德国FEMTO、英国MUNRO、美国RSR、美国REGAN等进口品牌陶瓷砖/地板/道路摩擦系数测试仪、防滑检测仪、激光功率计/能量计、电流/电压/锁相放大器/光电接收器、试验仪器等等产品。

-
供应商的其他相关信息
查看更多
-
产品搜索
-
产品分类
-
陶瓷砖检测仪
-
数显摩擦磨损试验机
-
英国MUNRO仪器
-
德国GTE 试验仪
-
意大利GABBRIELLI测试仪
-
进口滑度测试仪
-
安全类检测设备
-
德国FEMTO放大器
-
美国DL电流放大器
-
博纳德BND自研激光类产品
-
OPHIR激光辐射检测仪/表头
-
OPHIR热电堆/热释电探头
-
OPHIR激光功率计探头
-
OPHIR光电二极管探头
-
美国Spiricon分析仪
-
加拿大gentec-eo功率能量计
-
美国Coherent功率能量计
-
美国Pacific Lasertec激光器
-
德国Lampert设备
-
美国DEI/BNC脉冲发生器
-
美国SRS仪器
-
英国RS仪器
-
英国SCITEC
-
德国HHB测量仪
-
试验指、针、销
-
弹簧冲击锤
-
PTL试验仪
-
德国WAZAU检测仪
-
美国TREK试验仪
-
灯头灯座量规
-
插头插座量规
-
IP喷水试验装置
-
冷冻负载试验包
-
土壤水分传感器
-
SP DEVICES数据采集卡
-
瑞士放大器
-
日本Minebea传感器
-
阻燃试验仪
-
美国MONROE检测仪
-
德国SHF光电探测器
-
日本志贺SIGA喷枪
-
激光光束分析仪
-
扫一扫,手机浏览















