- 德国放大器DLPVA-101-B-S单端输入低频微电压信号放大器
详细信息
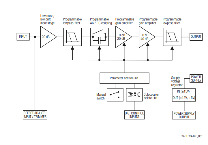
品牌:FEMTO 型号:DLPVA-101-B-S 加工定制:否 测量范围:20/40/60/80 测量精度:± 1 % FEMTO 的微电压信号放大器可在从 DC 到高达 500 MHz 的宽频率范围内将超低压信号放大至少 20 dB(x10),*高 100 dB(x100,000)。
与示波器、ADC、数字化仪和数据记录器一起使用时,可优化超低压信号的分析、测量、记录和监控信号。
规格参数
规格参数 测试条件 VS = ± 15 V, TA = 25 °C, load impedance = 1 MΩ 增益
增益 20, 40, 60, 80 dB indicated by four LEDs 增益精度 ±0.1 % (between settings) ±1 % (overall) 增益平坦度 ±0.1 dB 响应频率
下截止频率 DC, switchable to 1.5 Hz 上截止频率 100 kHz, switchable to 1 kHz 上截止频率滚降 12 dB/oct. 上升/下降时间 (10% - 90%) 3.5 µs (@ BW = 100 kHz) 350 µs (@ BW = 1 kHz) 输入
输入阻抗 1 MΩ 输入电容 105 pF 输入电压漂移 0.7 µV/°C 等效输入电压噪声 Gain setting DLPVA-100-B–S DLPVA-100-B–D 60, 80 dB 2.4 nV/√Hz 3.6 nV/√Hz 40 dB 6.4 nV/√Hz 7.3 nV/√Hz 20 dB 60 nV/√Hz 60 nV/√Hz 等效输入电流噪声 2 pA/√Hz 1/f 噪声转角 80 Hz 输入偏置电流 0.8 µA 输入偏置电流漂移 6 nA/°C 输入失调电压 ±4 mV, adjustable by offset trimmer and external control voltage 真差分输入,仅限“DLPVA-100-B-D”型号: 共模电压范围 ±8 V CMRR 120 dB (@ 100 Hz) 100 dB (@ 10 kHz) 80 dB (@ 60 kHz) 输出
输出阻抗 <100 Ω (terminate with > 10 kΩ load for best performance) 线性放大输出电压范围 ±10 V (@ > 10 kΩ load) 输出电流(*大值) ±20 mA 输出过载恢复时间 0.5 ms (after 20 x overload) 过载 LED 放大器配备一个 LED 指示灯,用于指示过载情况。如果信号路径内的信号电平超出线性工作范围,过载 LED 指示灯将亮起。为了确保放大器正常工作且不出现信号失真,请降低增益设置,直至过载 LED 指示灯熄灭。过载 LED 指示灯也可能在以下工作条件下亮起:- 放大器在开路输入或高源电阻(例如外部交流耦合)下工作。在这种情况下,偏置电流可能会导致相当大的输入电压。为了正常工作,请分别对“B-S”型号使用小于 1 kΩ 的源电阻,对“B-D”型号使用小于 10 kΩ 的源电阻,或切换到较低的增益设置。- 使用带有差分输入级的 DLPVA-B-D 放大器时,如果共模输入电压超出共模电压范围,过载 LED 指示灯可能会亮起。当源相对于放大器地线处于浮动状态时,很可能会发生这种情况。为了正常工作,请确保共模电压保持在放大器地线允许的共模电压范围内。在源地和放大器地之间提供电气连接,以确保输入不会漂移到可容忍的共模范围之外。 远程偏移控制 失调控制电压范围 ±10 V, corresponds to ±4 mV input offset voltage 失调控制输入阻抗 200 kΩ 远程数字控制
控制输入电压范围 Low: –0.8 ...+0.8 V High: +1.8 ... +12 V, TTL / CMOS compatible 控制输入电流 0 mA @ 0 V, 1.5 mA @ +5 V, 4.5 mA @ +12 V 过载输出 Non active: +5 V, max. 1 mA, active: 0.8 V, max. –10 mA 电源 电源电压 ±15 V (±14.5 V to ±16 V)
应用领域● 通用低频放大器
● 自动测量
● 工业传感器
● 探测器前置放大器
● 综合测量系统
● 示波器和瞬态记录前置放大器
● 光电倍增管放大器
● 时间分辨脉冲和瞬态测量
● 激光雷达系统
● 质谱
● 粒子检测
使用方法
DLPVA-101-B 电压放大器是可变增益电压放大器,专为快速放大小电压信号而设计。其操作基本一目了然。如有疑问,请查阅本文档或联系我们。
为了安全操作,请参阅本文档“绝对*大额定值”、“温度范围”和“电源”部分中规定的损坏阈值。
工作环境必须无烟、无尘、无油脂、无油、无冷凝水和其他可能影响操作或性能的污染物。
关于我们
公司生产IP防触电安规防护等级试验指、试验机、灯头量规通止规、插头插座量规、插座保护门、试验指针销、球压测试仪、弹簧冲击器、冷冻负载试验包、土壤水份传感器等等,还代理以色列OPHIR、德国WAZAU、德国GTE、德国FEMTO、英国MUNRO、英国RS、美国REGAN等进口品牌陶瓷砖/地板/道路摩擦系数测试仪、防滑检测仪、激光功率计/能量计、电流/电压/锁相放大器/光电接收器、试验仪器等等产品。
-
产品搜索
-
产品分类
-
陶瓷砖检测仪
-
数显摩擦磨损试验机
-
英国MUNRO仪器
-
德国GTE 试验仪
-
意大利GABBRIELLI测试仪
-
进口滑度测试仪
-
安全类检测设备
-
德国FEMTO放大器
-
美国DL电流放大器
-
博纳德BND自研激光类产品
-
OPHIR激光辐射检测仪/表头
-
OPHIR热电堆/热释电探头
-
OPHIR激光功率计探头
-
OPHIR光电二极管探头
-
美国Spiricon分析仪
-
加拿大gentec-eo功率能量计
-
美国Coherent功率能量计
-
美国Pacific Lasertec激光器
-
德国Lampert设备
-
美国DEI/BNC脉冲发生器
-
美国SRS仪器
-
英国RS仪器
-
英国SCITEC
-
德国HHB测量仪
-
试验指、针、销
-
弹簧冲击锤
-
PTL试验仪
-
德国WAZAU检测仪
-
美国TREK试验仪
-
灯头灯座量规
-
插头插座量规
-
IP喷水试验装置
-
冷冻负载试验包
-
土壤水分传感器
-
SP DEVICES数据采集卡
-
瑞士放大器
-
日本Minebea传感器
-
阻燃试验仪
-
美国MONROE检测仪
-
德国SHF光电探测器
-
日本志贺SIGA喷枪
-
激光光束分析仪
-
扫一扫,手机浏览















